รายงานการรบคะแนนล่าสุดของเซเรียอา: เนเปิลส์พลิกกลับโดยไม่ได้ตั้งใจ, อินเตอร์ มิลาน กลับ 4-3, เจนัว lore_gomo_como_inter มิลาน
มีหลายเกมในรอบที่ 32 ของเซเรีย อา แต่ละเกมมีทั้งความสุขและความเศร้าของตัวเอง นาโปลี เสีย 2 แต้มในปาร์ม่า ซึ่งเป็นปลายน้ำของอันดับลีก พลิกคว่ำในอุบัติเหตุบนท้องถนน ปาร์ม่ายิงประตูได้ในเวลาไม่ถึงนาที Espeto อาศัยโอกาสโต้กลับเพื่อบุกเข้าไปในประตูเมืองเนเปิลส์ จนกระทั่งนาทีที่ 60 ที่เนเปิลส์ทำคะแนนให้เท่ากัน แม็คโทมีนยิงประตูอย่างแรงเพื่อเซฟทีม คะแนนสุดท้ายคงที่ที่ 1-1 เนเปิลส์ยิงผู้ชมได้ 20 ครั้ง ขณะที่ปาร์ม่ายิงได้เพียง 3 นัด แต่ผลที่ได้คือเสมอกัน สิ่งนี้ทำให้คอนเต้ผิดหวังมาก การจับฉลากครั้งนี้ทำให้ความหวังของเนเปิลส์สำหรับการแข่งขันชิงแชมป์นั้นบางเฉียบยิ่งขึ้น

เจนัวจบการแสดงตำนานที่บ้านและเอาชนะ Sassuolo 2-1 อย่างหวุดหวิด Malynovsky เป็นผู้นำในการช่วยเหลือคะแนนเจนัว ในช่วงพักครึ่ง ทั้งสองฝ่ายปะทะกันในช่องผู้เล่น และทั้งสองฝ่ายก็ถูกส่งออกไป Eletson และ Berardi เป็นสีแดง Conane ช่วยให้ Sassuolo ตีเสมอคะแนนในนาทีที่ 57 ในนาทีที่ 84 Aikuban ยิงตำนานและช่วยให้เจนัวเก็บได้ทั้งหมด 3 คะแนน

อินเตอร์ มิลานเริ่มการต่อสู้กับโคโมบนท้องถนน และในที่สุดก็ชนะ 4-3 ในเกมมหัศจรรย์นี้ โคโม่ ขึ้นนำในการทำประตู 2 ประตูติดต่อกัน แบร์รี่และพาสทำแต้มทีละคน อินเตอร์ มิลาน ดึงประตูกลับมาเมื่อจบครึ่งหลัง ทูรามคว้ายิงและยิงเข้า อินเตอร์ มิลาน ยิง 3 ประตูติดต่อกันหลังจากเริ่มครึ่งหลัง ทูรัมทำแต้มได้สองครั้ง และดันมปริสยิงได้ 2 ประตูติดต่อกัน Cuomo ได้ลูกบอลกลับมาในนาทีที่ 89 และ Dakonia ตี ในท้ายที่สุด อินเตอร์ มิลาน จบรายการที่ดี และพลิกกลับอย่างปาฏิหาริย์ด้วย 2 ประตู ซึ่งเหลือเชื่อมาก

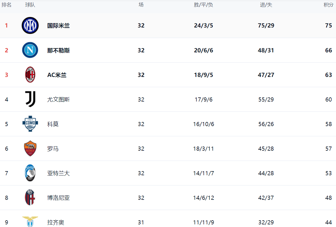
อินเตอร์ มิลาน นำหน้าในอันดับ อินเตอร์ มิลาน ชนะ 24 เสมอ 3 แพ้ 5 แต้ม และ 75 แต้ม ในรอบนี้ทั้งเนเปิลส์และเอซี มิลาน เสียแต้มทำให้อินเตอร์ มิลาน ได้เปรียบขยายตัวต่อไป เนเปิลส์รั้งอันดับสองด้วยคะแนน 66 แต้มตามหลังอินเตอร์ มิลาน 9 แต้ม เอซี มิลาน ทำได้เพียง 63 แต้ม อันดับสาม ยูเวนตุส ได้คะแนน 60 คะแนน อันดับที่ 4 หลังแพ้ Cuomo ยังได้คะแนน 58 คะแนน พลาด ยูเวนตุส อันดับที่ห้า โรมอยู่ในอันดับที่ 6 ด้วยคะแนน 57 อันดับที่ 7 คือแอตแลนต้าซึ่งทำคะแนนได้ 53 คะแนน


